Nicht mehr lieferbar
Lieferdatum
Öffnungsgeschwindigkeit: bis 40 cm/Sek. fix
Schließgeschwindigkeit: bis 20 cm/Sek. fix
Max. Dürchgangshöhe: 245 cm
Öffnungsbreite: bis 110 cm, Schienenlänge: 2200 mm (kürzbar)
Verwendungsbereich: geringe bis mittlere Frequentierung (100 - 200 Betätigungen täglich) im Privatbereich oder gewerblichen Bereich
Sicherheit: Hinderniserkennungsfunktion mit Reversierung <30 Newton
Laufeigenschaften: superleise - Softstart und Softstop, elektronische Wegemessung
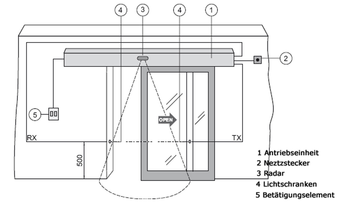
1 St. wartungsfreie Motor-Getriebeeinheit mit geräuscharmen, umlaufenden Zahnriemen (im Aluminium-Laufschienenprofil fertig eingebaut), integrierte Microprozessor- Steuerung (selbstlernend)
1 St. Alu-Laufschiene mit 2 Laufwagen je Flügel (a 3 Rollen, kugelgelagert) und Alu-Abdeckhaube (E6EV1) 3-dimensional verstellbar.
1 St. Kabelplan, Einbauanleitung, Anlagenbuch
ACHTUNG: Flügelkupplung für Holzflügel (A-AST-DIT-CIVIK-FKHOLZ) bzw. Flügelkupplung für Ganzglasflügel (A-AST-CIVIK-FKGLAS) und Flügelhaltehalteprofil (A-AST-ALUPGG-AC1356) muß separat gegen Mehrpreis bestellt werden.



| Betriebsart | Leichtbetrieb |
| Maximales Türflügelgewicht | 60 kg |
| Laufwerk | Kompaktes Alulaufwerk |
| Geschwindigkeit (1-flüglig) | 0,4 m/s beim öffnen, Reversierbetrieb, ohne Blockierung |
| Anschlusswerte | 230V 50 / 60 Hz |
| Motor | 24V Gleichstrom mit 'Encoder, Reversierbetrieb, ohne Blockierung |
| Schubkraft | 30N |
| Steuerung | Mikroprozessorgesteuert, eingebaut, selbstlernend |
| Hinderniserkennung | Anhalten beim öffnen, Reversieren beim schließen |
| Endabschaltung | Automatisch bei Auffahren auf ein Hindernis |
| Ausgänge | 24V maximal 0,3 A |
| Ansteuerung | Kleinspannung mit Steckverbindern |
| Öffnung | Über Impulsgeber wie Taster, Bewegungsmelder, Lichtschranke, etc. |
| Schließung | Nach eingeschalteter Zeit oder über Taster |
| Mindestlänge des Antriebs | 2200 mm |
| Abmessungen (mm) | 130 x 75 x L |
| ! | technische Änderungen und Irtümer vorbehalten |